免费网站色I日本久久久久久科技有限公司I特黄特黄的视频I国产精品wwwI国产在线999I97网在线观看

Guilin Microtech Optical Instrument Co., Ltd. (MTO)

Phone:+86-773-5823609

PRODUCT

MZD Standard Series

Includes MZD0212, MZD0318, MZD1070, MZD0745

Objective Lens continuous magnification, kinds of magnifications, can pre-set stops with detents

Various main body , auxiliary illuminators , stands and CCD adapters are optional and available

MZD1070C and MZD0745C contain coaxial illuminator and CS-mount & C-mount can be equipped with CCD camera

Application widely in semiconductor equipments, LCD,LED manufacture, inspection and two-dimensional, three-dimensional measurement systems


MZD0212
MZD0318
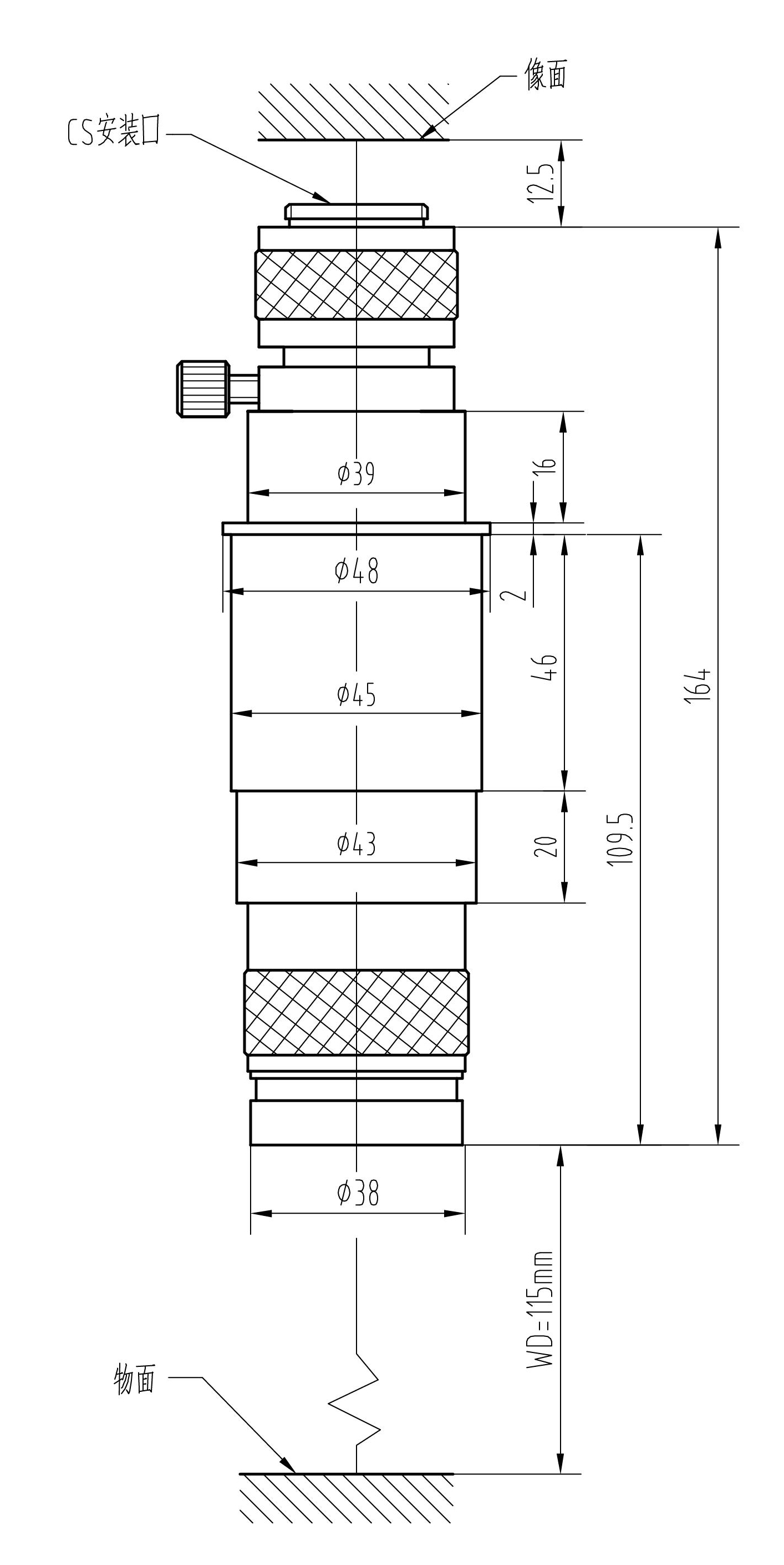
MZD0745
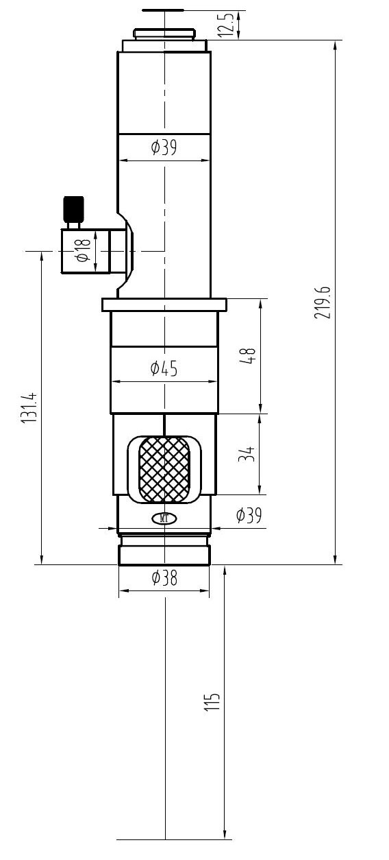
MZD0745C

MZD0745C-A